Kia Optima DL3: Suspension System / Tire Pressure Monitoring System
Components and components location

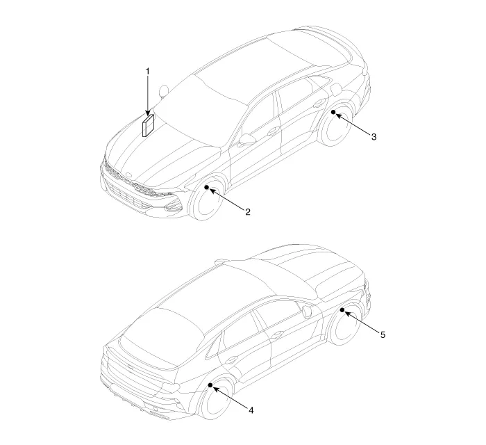
1. Integrated Body Control Unit
(IBU)
2. TPMS sensor (FL)
3. TPMS sensor (RL)
|
4. TPMS sensor (RR)
5. TPMS sensor (FR)
|
Description and operation
The Tire Pressure Monitoring System (TPMS) monitors the pressure and temperature
inside the tire in order to warn the driver of changes in pressure which may influence
the operation of the vehicle. The TPMS control module analyzes wireless information
froIn other words, the system detects the pneumatic pressure of the tires and warns
the driver of if the pneumatic pressure drops below the standard level.
Low-pressure Warning Lamp on the Dashboard
Dashboard tire low-pressure
warning light

Lamp ON/OFF Conditions when the Tire Pressure Decreases or Air is Leaking from
the Tire
| 1. |
Lamp ON
| • |
The lamp turns ON when the tire pressure decreases below the
standard level.
|
|
| 2. |
Lamp OFF
| • |
Low pneumatic pressure: The warning lamp turns OFF when the tire
pressure exceeds the pressure required to turn off the lamp.
|
|
TPMS Fault Warning
Lamp
| 1. |
Warning Conditions and Display
| • |
When the system detects a defect in the external operating environment
(low battery voltage, abnormal vehicle speed, etc), the warning
lamp blinks for about 1 minute and then turns ON.
|
|
| 2. |
Lamp OFF
| • |
The warning lamp turns OFF when the DTC is resolved. The DTC
is automatically resolved when the system does not receive any fault
signals for 30 or more ignition cycles after it changes to the previous
fault code.
|
| •
|
If this phenomenon occurs while driving, you should check
the cause of the fault even after the DTC is resolved.
(Turn the ignition switch from OFF to ON. Then, check
the lamp status.)
|
| •
|
The warning lamp turns off once the DTC is resolved.
The warning lamp stays on until you complete the check necessary
to resolve the DTC.
|
| •
|
If the DTC is resolved, the warning lamp turns OFF during
the same ignition cycle.
|
|
|
If the vehicle starts within 19 minutes after the replacement
of the wheel of the stopped vehicle, the TPMS Malfunction Indicator
on the instrument cluster illuminates.
| –
|
The above symptom is due to communication failure between
the BCM and the replaced TPMS ID.
|
| –
|
This communication failure indicator turns off in 19
minutes after the vehicle stops through the BCM’s automatic
learning process of TPMS ID.
(When driving the vehicle after stopping for over 19
minutes, the indicator turns off automatically.)
|
|
|
System Defect
| 1. |
General Operation
| • |
The system detects many input elements to identify potential
defects.
|
| • |
The priority of a defect depends on its cause.
|
| • |
Certain defects are not diagnosed as DTCs.
|
The following are major defects:
| • |
In order to diagnose more symptoms of the fault when the ignition
line malfunctions, you must check the warning lamp when you turn
the ignition on.
|
| • |
Check whether the warning lamp turns on and then off.
|
|
Troubleshooting

|
Find the inspection number by referring to the table above.
The following content is irrelevant of the inspection procedure.
|
| 1. |
Warning lamp types
| • |
Keeps on without blinking : Low pressure tire warning lamp
|
| • |
Flashes at 0.5 second intervals constantly : Initial state warning
lamp
|
| • |
Cluster blinks for 1 minute at 1 second intervals, then turns
ON : Error code warning lamp
|
|
Turn IG OFF and then IG ON again to check the warning light type.
|
|
| 2. |
(1) Check the warning lamp state.
| • |
Check the vehicle warning lamp state.
|
| • |
Check if the warning lamp state is caused by tire low pressure.

Symptom : Keeps on without blinking
|
|
| 3. |
(2) Check the warning lamp state.
| • |
Check the vehicle warning lamp state.
|
| • |
Check if the warning lamp state is caused by the initial state
(virgin mode) of TPMS receiver.

|
|
| 4. |
(3) Check the warning lamp state.
| • |
Check the vehicle warning lamp state.
|
| • |
Check if the warning lamp state is caused by error code (TPMS
receiver & TPMS sensor failure).
Symptom : Cluster blinks for 1 minute at 1 second intervals,
then turns ON.
|
|
| 5. |
Low tire pressure warning lamp
Cold : Vehicle kept for more than 60 minutes after stopping.
→ 0.07 kgf/cm² (1.0 psi) additional injection at the specified tire pressure.
Hot : Driven vehicle
→ 0.28 kgf/cm² (4.0 psi) additional injection at the specified tire pressure.
|
In case the warning lamp fails to turn OFF after injecting tire
pressure, disconnect the KDS and drive less than 1 km at 25 km/h.
|
|
| 6. |
Inspect initial state warning lamp
| A. |
TPMS warning lamp
(1) Check the TPMS warning lamp status.
(2) Flashes at 0.5 second intervals constantly. -> Initial state
warning lamp
|
Turn IG OFF and then IG ON again to check the warning
lamp type.
|
|
| B. |
Items to check in case of blinking warning lamp
(1) Enter sensor ID.
(Refer to TPMS Receiver - "Repair procedures")
(2) Enter vehicle name.
(Refer to TPMS Receiver - "Repair procedures")
(3) Enter VIN.
(Refer to TPMS Receiver - "Repair procedures")
(4) Change TPMS ECU mode (to Standard mode).
|
|
| 7. |
DTC checklist for performance test.
List
|
symptoms
|
Inspection items
|
Detailed checklist
|
Component/parts
|
C1312(FL)
C1313(FR)
C1314(RL)
C1315(RR)
|
TPMS sensor receive error.
|
Sensor RF transmission state
|
Confirm sensor RF transmission
Check sensor DTC
Inspect sensor battery
|
TPMS Sensor
Vehicle electronic units noise
Vehicle operating conditions
|
C1332(FL)
C1333(FR)
C1334(RL)
C1335(RR)
|
Sensor internal failure
|
Inspect sensor RF transmission
Sensor battery voltage
|
Check sensor RF transmission
Check sensor battery (KDS)
|
TPMS Sensor
|
C1662
|
Auto learning failure
|
Sensor RF transmission state
Inspect EMS vehicle speed (VS)
Inspect vehicle noise
|
Confirm sensor RF transmission
Inspect sensor battery
Inspect EMS vehicle speed (VS)
Inspect vehicle electronic unit noise
|
TPMS Sensor
Vehicle electronic units noise
Vehicle operating condition
EMS vehicle speed signal
|
C1663
|
Auto learning failure
|
Sensor RF transmission state
Inspect EMS vehicle speed (VS)
Inspect vehicle noise
|
Confirm sensor RF transmission
Inspect sensor battery
Inspect EMS vehicle speed (VS)
Inspect vehicle electronic unit noise
|
TPMS Sensor
Vehicle electronic units noise
Vehicle operating condition
EMS vehicle speed signal
|
| •
|
Be sure to check DTC.
(Refer to DTC manual - "Tire Pressure Monitoring")
|
| •
|
If the TPMS warning light does not turn on : TPMS sensor
periodically learns the sensor through driving.
|
| •
|
If the TPMS warning light turns on : Replace TPMS sensor,
TPMS receiver.
|
|
|
Repair procedures
Front Wheel Alignment
•
When using a commercially available computerized wheel alignment
equipment to inspect the front wheel alignment, always position
the vehicle on a level surface with the front wheels facing straight
ahead.
Description and operation
Description
1.
Function
•
By detecting the pressure, temperature, acceleration, and battery
condition, transmit information to ECU by a wireless RF.
Other information:
Repair procedures
Removal
1.
Disconnect the negative battery terminal.
2.
Remove the lcense lamp (A) by pressing the hook.
3.
Disconnect the lcense lamp connector (A).
Description and operation
Description
The auto defogging sensor is installed on the front window glass. The sensor
judges and sends signal if moisture occurs to blow out wind for defogging. The air
conditioner control module receives signal from the sensor and restrains moisture
and eliminate defog by controlling the intake actu